特性规格   

RCL 371 SERIES
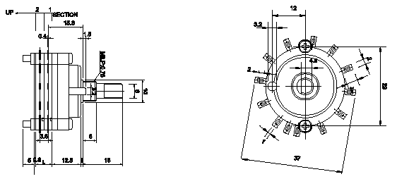
2 point position series

 


RCL 371 SERIES
3point position series


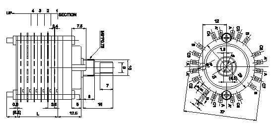
RCL 371 SERIES
4point position series


RCL 371 SERIES
5~6point position series


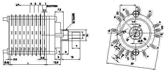
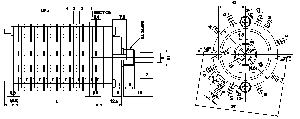
RCL 371 SERIES
7~12point position series


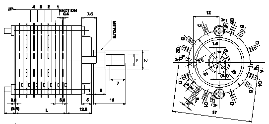
RCL 371 SERIES
Xpoint position series